
S460M钢板是欧标体系下的高性能结构钢,其核心特性及技术参数如下:
一、基本特性
- 工艺类别:热机械轧制(TMCP)可焊接细晶粒结构钢,通过控温轧制和冷却工艺细化晶粒,兼具高强度与韧性 。
- 核心优势:
- 高强度与韧性平衡:屈服强度随厚度递增递减(16mm厚时≥460MPa),抗拉强度540-720MPa,延伸率≥17% ;
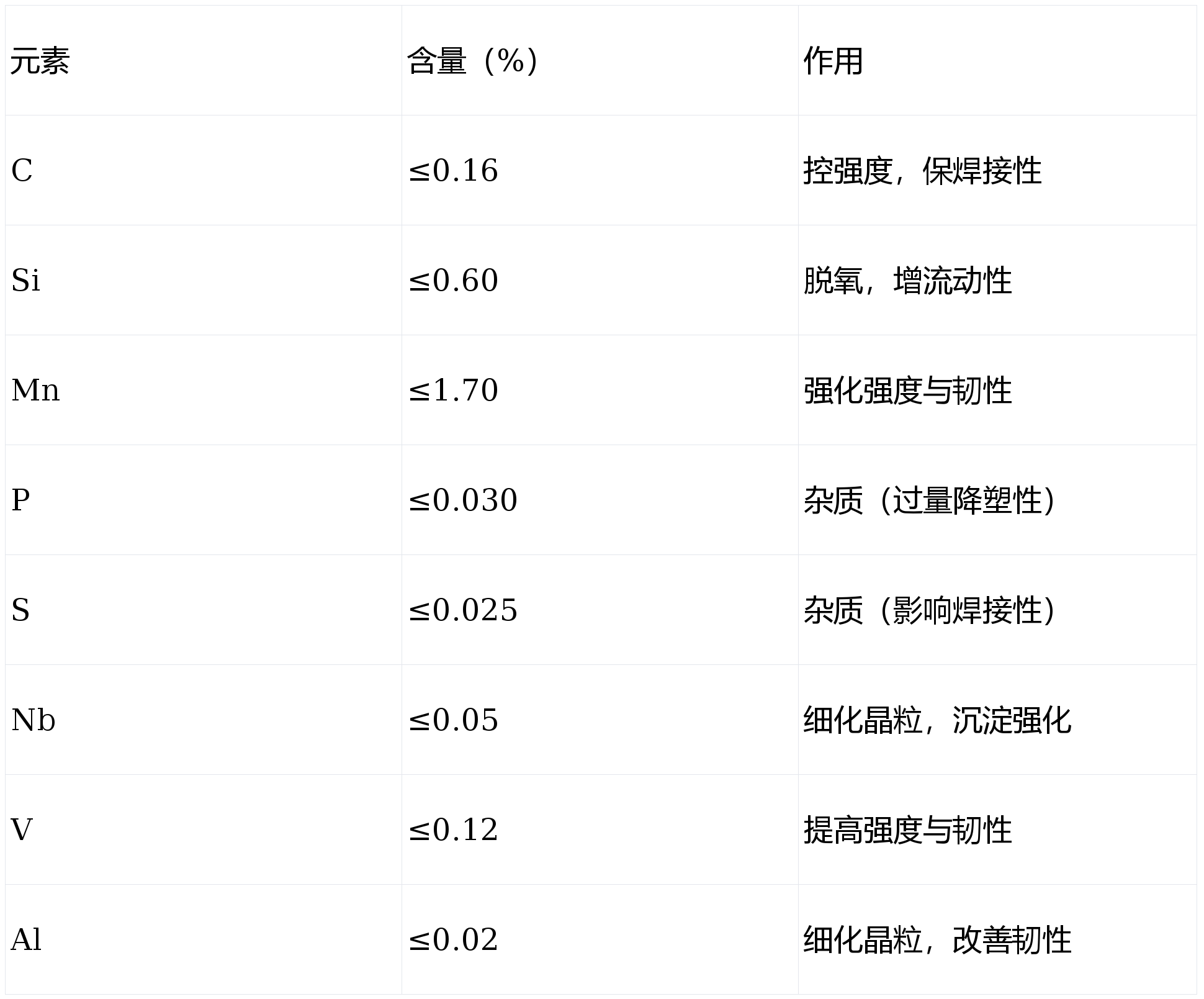
- 优异焊接性:低碳设计(C≤0.16%)+低硫磷(P≤0.030%,S≤0.025%),碳当量(CEV)≤0.45(厚度<16mm),支持免预热焊接 ;
- 低温韧性:-20℃冲击功≥40J(纵向),部分型号(如S460ML)满足-50℃≥27J要求 。
- 适用领域:桥梁工程、海洋平台(如风电设施)、工程机械(起重机臂架)、LNG接收站管道等重载或低温环境 。
二、力学性能
表格

三、化学成分(熔炼分析)
表格

四、执行标准与交付要求
- 标准:EN 10025-4:2004(热机械轧制可焊接细晶粒结构钢);
- 交货状态:热机械轧制(TMCP)态,表面可剪切或火焰切割加工 ;
- 碳当量控制:厚度<16mm时CEV≤0.45,厚度增加时CEV上限递增(120mm厚≤0.48)。

)
成分股解析(中芯与小米权重谁高))
)
)
)
)
)
(聚焦mobi))
)
)
)
)
)
)
)
)